H股全流通——雅生活服务案例
我们通过雅生活服务(03319.HK)的案例,展示了实施H股全流通程序和全流通后股份减持的情况,供参考。
实施H股全流通的程序主要包括:公司审批、中国证监会批准、联交所批准、完成在中国证券登记结算有限责任公司办理股份注销登记手续以及股份转换登记、存管及交易结算的所有有关程序。
1、全流通转换的股份
雅生活将境内未上市股份全部H股全流通,包括四名股东的9亿股,具体名单如下图,可见包含了H股全流通股份包含了非上市外资股,转换后没有保留境内未上市股份,全部股份在H股上市。
图:需要H股全流通的股东明细
图片
来源:2020年7月23日公告
图:转换前后的股本架构
图片
来源:2020年7月23日公告
2、实施过程
雅生活关于全流通发布了如下公告,分别是获得中国证监会H股全流通批准、获得联交所上市批准、及完成全流通的公告。
表:全流通公告
1)证监会批准
2020年7月1日,雅生活收到中国证监会关于H股全流通申请的批准。
图:批准H股全流通公告
图片
2)联交所上市批准及转换程序
2020年7月23日,雅生活收到联交所上市委员会关于公司的9亿股境外上市股份转换为H股的上市批准。
图片
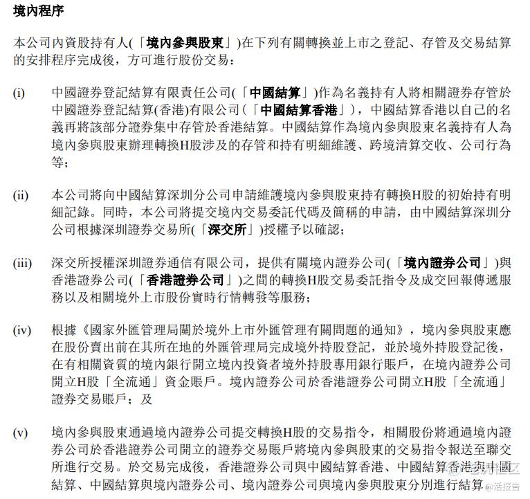
境内程序:包括存管于中国结算香港、外汇管理局境外持股登记、和通过境内证券公司交易H股等。
图片
3)完成H股全流通
2020年7月28日,雅生活完成H股全流通,相关股份在2020年7月29日在联交所上市。
图片
4)H股全流通后对应股份减持
H股全流通后,中国结算香港持有8亿9280万股,与向证监会申请的9亿股全流通总量相差了720万股,正好对应于非上市外资股旺经国际持有的720万股,由规定,H股全流通股份均由中国结算香港名义持有,说明旺经国际最终并没有参与H股全流通。
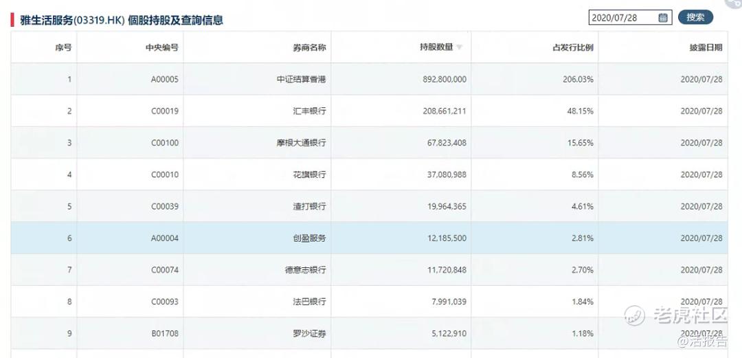
表:2020年7月28日的CCASS持仓
图片
来源:AIPO数据网
之后,中国结算香港持仓发生了如下变动,由规定,H股全流通股份只允许减持卖出,不允许买入。
表:中国结算香港持股变动
来源:livereport大数据
5)H股全流通股份减持时市况
对应于上述7个减持日期,我们检查减持当日对股价的影响,结算日期前两日为交易日期,整理交易日期价格、涨跌幅、成交量等信息如下。
表:全流通股份减持日期股价波动
来源:Livereport大数据
由上面数据,雅生活全流通股份减持日期较少、单日减持数量较大,在2022年8月19日减持当日股价出现较大跌幅。
表:经统计各年度日均交易量
来源:Livereport大数据
综上,H股全流通股份可将全部境内未上市股份全流通,也可以选择部分,实施全流通后,转换的股份以中国结算香港的名义持有,另外需要注意较大股数减持时可能对市场股价的影响。
附注:
沙利文捷利(深圳)云科技有限公司可协同证券公司、受托人等市场参与者合作为上市公司提供”SaaS系统+咨询导航+连接协同“综合性ESOP服务。
1)SaaS系统:捷利交易宝自主研发了前后端一体化ESOP系统,支持各类激励类型、多类行权方式。捷利ESOP系统目前已为多家证券公司部署,已服务多家港股上市公司客户。
2)咨询导航:提供全流程咨询导航,设计阶段提供200页+操作手册培训、数据支持,方案建议及测试协助;架构搭建、回购咨询;后续实施咨询。
3)连接协同:为公司及中介服务,赋能券商ESOP服务能力,提供中介渠道连接。
联系人:李先生,18520863815,albert.lee@tradego8.com。
图片
图片
图片
免责声明:上述内容仅代表发帖人个人观点,不构成本平台的任何投资建议。


