仅隔49天,星海图再获20亿元融资,估值破200亿
今年春节以来估值涨幅最快的具身智能企业。
来源:猎云精选,文/王非
第四家估值百亿具身智能创企,时隔一个多月又融资了。
4月2日,具身智能机器人研发商星海图官宣完成近20亿元B+轮融资,投资方包括:华登科技、蓝思科技、矽芯投资、时代伯乐、航发基金、修远资本、弘章投资、御海资本、金融街资本、金浦投资、北京科创、国元股权、中金资本旗下基金、普华资本、洪泰基金、广发乾和等,汇聚了产业资本、头部长线基金、国家队基金及一线PE机构等多方顶级力量。
据了解,本轮融资将全面加码基础模型研发与全球生态布局,推动星海图真实数据路线的VLA和世界模型全面领先以及从“开发者首选”迈向“生产力标杆”的跨越式进化,加速具身智能在物理世界的规模化商业落地。
至此,星海图累计融资额近50亿元。在本次融资完成后,星海图跻身“估值200亿+俱乐部”,并刷新了中国未上市具身智能企业估值记录,也是今年春节以来估值涨幅最快的具身智能企业。
值得一提的是,就在今年2月11日完成10亿元B轮融资后,星海图估值就已进入百亿级别,成为继宇树、智元、银河通用后,第四家估值百亿具身智能创企。
2年9轮融资,美团蚂蚁米哈游都来了,已对外投资多家企业
星海图(北京)人工智能科技股份有限公司成立于2023年9月,联合创始人&CEO高继扬,毕业清华大学电子系,后在南加州大学USC IRIS计算机视觉实验室获得博士学位,毕业后加入Waymo,参与了基于机器学习的行为预测项目,并和赵行、孙晨联合发表了著名的VectorNet模型。
成立不久,星海图就在2024年2月官宣完成天使轮融资第二轮交割,天使轮共计融资千万美元;本轮融资由IDG资本领投,无限基金SEE Fund、BV百度风投、金沙江创投、七熹投资跟投。
此后,在短短两年时间里,星海图密集完成9轮融资,除上述资方外,吸引了米哈游、正悦投资、高瓴创投、无锡创投、联想创投、同歌创投、蚂蚁集团、北京机器人产业投资基金、趣加投资、IDG资本、襄禾资本、中金资本私募、美团战略投资部&美团龙珠、亦庄国投等机构的投资。
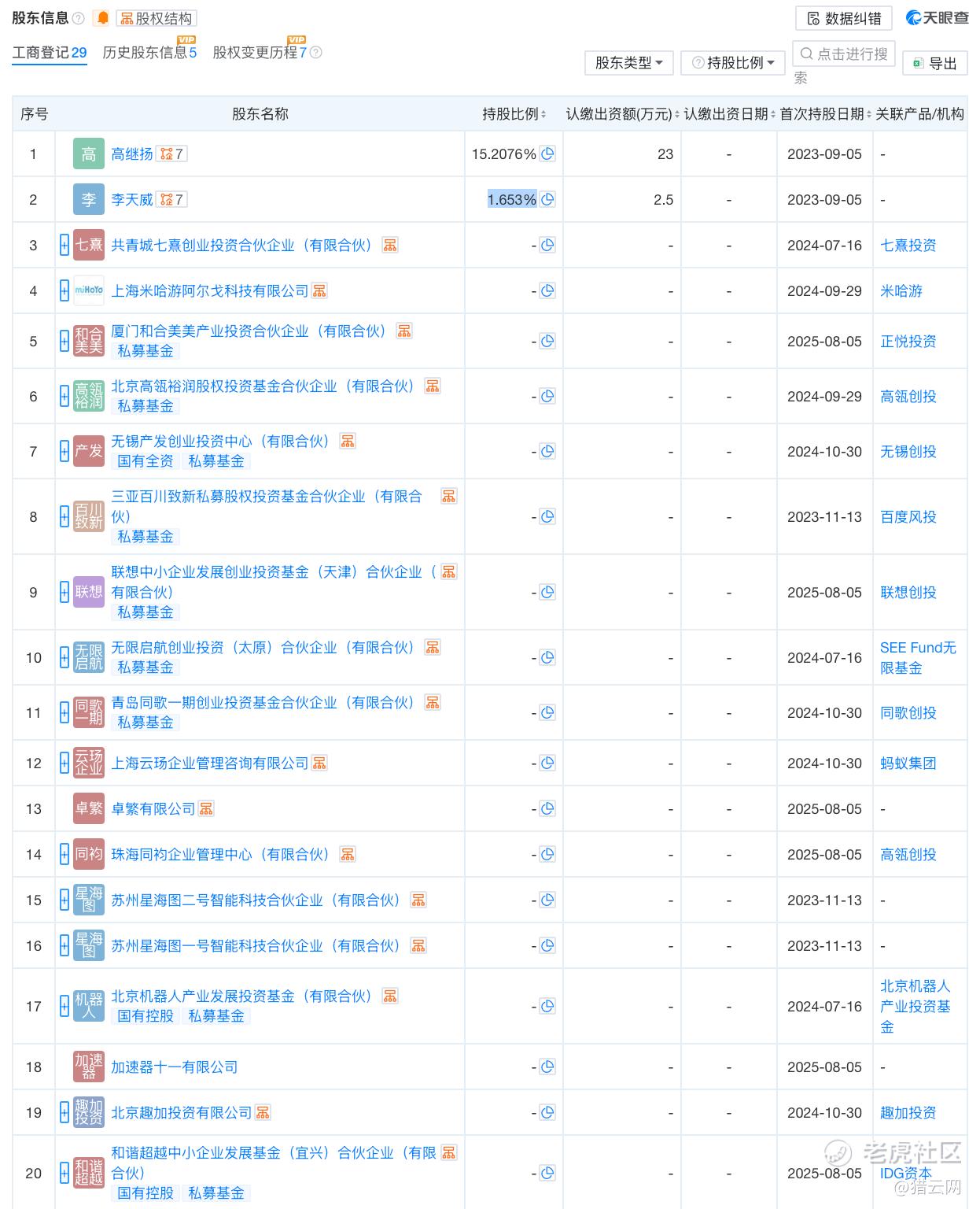
天眼查App信息显示,目前,高继扬直接持有星海图15.2076%股份;公司董事李天威持股1.653%;机构持股比例暂未披露。
来源:天眼查
值得一提的是,目前,星海图已投资多家企业,均为具身智能行业最优秀的工程师和科学家团队,其中绝大部分为首轮投资,覆盖UMI、POV、全身外骨骼等多种数据采集方式及零售、物流、家庭多个核心应用场景。
以具身智能数据采集解决方案提供商,简智机器人为例。工商变更显示,今年2月,该公司刚刚获德联资本入股,此前,简智机器人已完成第三轮融资,这也是该公司成立4个月的第3轮融资,总额超2亿元。其中,种子轮融资正是由BV百度风投领投,星海图、Momenta、九识跟投。
就在3月30日,星海图宣布以领投身份,完成对破壳智能的种子轮投资。该公司由清华叉院AP&原星海图首席科学家许华哲创办,是一家专注于C端具身智能技术服务的提供商。消息称,该公司已开启预期7亿美元估值的下一轮融资谈判。
星海图方面表示,看好破壳智能在家庭场景机器人领域的创新潜力,期待双方未来在智能科技领域的深度合作。
软硬双线迈进,已完成千台级订单跑通,将开启万台级规模化放量
星海图致力于构建围绕“整机+智能”驱动的开放世界具身智能解决方案,以真实数据路线+全球最快世界模型的“最强大脑”赋能Design for AI的“最佳本体”,加速推动具身智能技术从开发者迈向生产力。
技术实力层面,星海图以打造“通用具身智能大脑”为核心目标,认为视觉-语言-动作(VLA)模型与世界动作模型(WAM)同源共生,基于真实开放场景的海量数据,将物理世界的直觉认知与精准的任务执行深度耦合,赋予机器人理解世界、操作万物的通用智能。
作为全球“快-慢双系统”VLA模型的技术开创者,近期,星海图刚刚重磅发布全球最快的世界模型Fast-WAM。通过对模型底层架构的颠覆性重构,让世界模型可以不靠想象理解世界,大幅提高世界模型推理速度,为具身智能从实验室研发走向大规模产业落地奠定关键基础。即将发布的G0.5模型,则将再次更新全球SOTA纪录并开源,让机器人的基础模型具备真正的通用落地能力。
数据体系层面,星海图坚持构建真实场景具身数据引擎,公司开源的全球首个开放场景具身智能真机数据集 (GOD) ,重新定义高质量真机数据标准,发布一个月即登顶全球下载量首位,被开源社区广泛认可为2025年全球最高质量具身真机数据集,全球下载量已突破60万次。
目前,星海图的数据体系已深度赋能英伟达EgoScale、蚂蚁灵波Lingbot-VLA等全球顶级具身大模型。2026年,星海图还将构建全球最大规模的真实场景具身数据集,以百万小时真实场景数据持续驱动具身基础模型进化。
产品层面,星海图围绕轮式双臂、灵巧操作、全身运动控制三大方面持续迭代,已构建起从核心部件、整机平台到开发工具的完整产品体系,是行业内极少数能同时满足顶级科研与工业级工程需求的通用平台。
来源:星海图
硬件之外,星海图自研的EDP具身智能开发平台实现了真实场景下从数据采集、标注到模型部署的全流程闭环。通过集成一站式后训练工具,EDP 与具身基础模型、机器人本体深度协同,大幅降低了研发门槛,为开发者提供了一条从原型验证到规模化部署的高效路径。
商业落地层面,星海图聚焦搬运移动、抓拿放置、封装打包、织物叠放和设备串联五大核心垂类场景,目前已完成千台级订单跑通,并锁定了工业搬运、物流分拣、商业展示类行业领军企业深度合作。
2026年,随着供应链与场景能力的全面成熟,星海图将正式开启万台级规模化放量,定义具身智能真实生产力的新高度。
免责声明:上述内容仅代表发帖人个人观点,不构成本平台的任何投资建议。


