雷军投了五轮,银河航天启动IPO
前猎豹移动总裁掌舵,直接及间接持股22.04%。
来源:猎云精选,文/王非
商业航天上市潮,又有生力军加入。
3月30日,卫星互联网解决方案提供商和卫星制造商银河航天(北京)科技集团股份有限公司(下称:银河航天)在北京证监局完成IPO辅导备案,辅导机构为华泰证券。
来源:上交所官网截图
天眼查App信息显示,3月中旬,银河航天刚刚完成股改,企业名称由“银河航天(北京)网络技术有限公司”变更为现名,被视为上市筹备关键一步。
2025年6月,证监会发文明确扩大科创板第五套标准的适用范围,将商业航天等前沿科技领域纳入其中;同年12月,上交所进一步发布《商业火箭企业适用科创板第五套上市标准指引》,从业务范围、技术优势、阶段性成果、行业地位等维度进行细化,这一政策为商业航天企业上市提供了清晰路径。
据不完全统计,截至目前,商业航天领域已有约15家明确处于IPO进程中的公司。这些企业覆盖火箭制造、卫星制造与应用、产业链配套三大领域。银河航天,正是最新一家。
自2025年下半年开始,主营运载火箭的商业航天公司蓝箭航天(7月)、中科宇航(8月)、天兵科技(10月)、星河动力(10月)相继开启IPO进程,星际荣耀则早在2020年12月已启动上市辅导。目前,蓝箭航天科创板IPO于2025年12月31日获受理,拟募资75亿元;中科宇航科创板IPO则于2026年3月31日获受理,拟募资41.8亿元。
海外方面,SpaceX计划近期提交招股书,目标于2026年6月完成上市,募资规模可能超过750亿美元,目标估值达1.75万亿美元,有望成为史上规模最大的首次公开募股。
而在卫星制造与应用企业中,除银河航天外,国星宇航已于2025年1月递表港交所,拟冲刺“港股商业航天第一股”;福信富通则于2025年12月递表港交所;爱思达航天、屹信航天、微纳星空、天仪空间分别于2025年6月、8月、9月、2026年2月启动上市辅导;2025年11月,北斗院二次冲刺科创板获受理。
前猎豹移动总裁掌舵,雷军投了5轮
2015年10月,国家发改委等部门联合下发相关文件,中国航天由此迈出向商业化转变的关键一步。自此,大量资本加速涌入商业航天赛道。天眼查数据显示,截至2026年初,全国商业航天相关企业中,已有97.7%为民营企业,民营资本逐渐成为推动航天产业发展创新的重要力量。
商业航天创业大潮初起,2016年12月,银河航天(北京)科技有限公司就已正式注册成立,目前是银河航天的第三级子公司。如今启动IPO进程的公司主体,则于2019年6月注册成立,原名银河智点(北京)科技有限公司。
创始人徐鸣,1978年6月出生,本科毕业于哈尔滨工业大学机械工程专业,随后在该校机械自动化专业获得硕士学历。毕业后,他曾于北京三七二一科技有限公司任总监;2005年7月至2008年5月,于北京奇虎科技有限公司任技术总监;2008年6月至2010年11月,出任可牛网络技术(北京)有限公司首席技术官。
值得一提的是,徐鸣于2008年联合创办猎豹移动并担任CTO、总裁,于2018年辞职。在猎豹移动期间,他负责管理战略和全产品线业务,带领团队开发出Clean Master等旗舰产品,促使公司成为全球最大的互联网移动工具开发商,并成功在纽交所上市。
徐鸣在银河航天开启再创业模式,致力于规模化研制低成本、高性能小卫星,打造低轨宽带通信卫星星座,建立一个覆盖全球的天地融合通信网络。
就像雷军当年做小米,徐鸣称,自己在暗暗的憋一口气,他也希望做出一家能够与OneWeb、SpaceX,甚至与NASA和中国航天这些国家队比肩的商业航天公司。这是他,心中的一个梦想。
伴随徐鸣正式公开掌舵银河航天,在他的带领下,公司顺利在2018年一年内完成A轮三次融资,投资方包括顺为资本、五源资本、IDG资本、高榕资本、源码资本、君联资本,公司估值超过35亿元。
此后,银河航天密集完成多轮融资,估值也不断水涨船高。2019年9月,估值超过50亿元,成为国内商业航天赛道估值最高的创业公司之一;2020年11月,投后估值近80亿元,成为我国商业航天及卫星互联网领域第一只独角兽企业;2022年9月,投后估值约110亿元;在2024年《胡润全球独角兽榜》中,估值115亿元。
就在2026年2月,银河航天刚刚完成C轮融资,投后估值也将进一步提升。
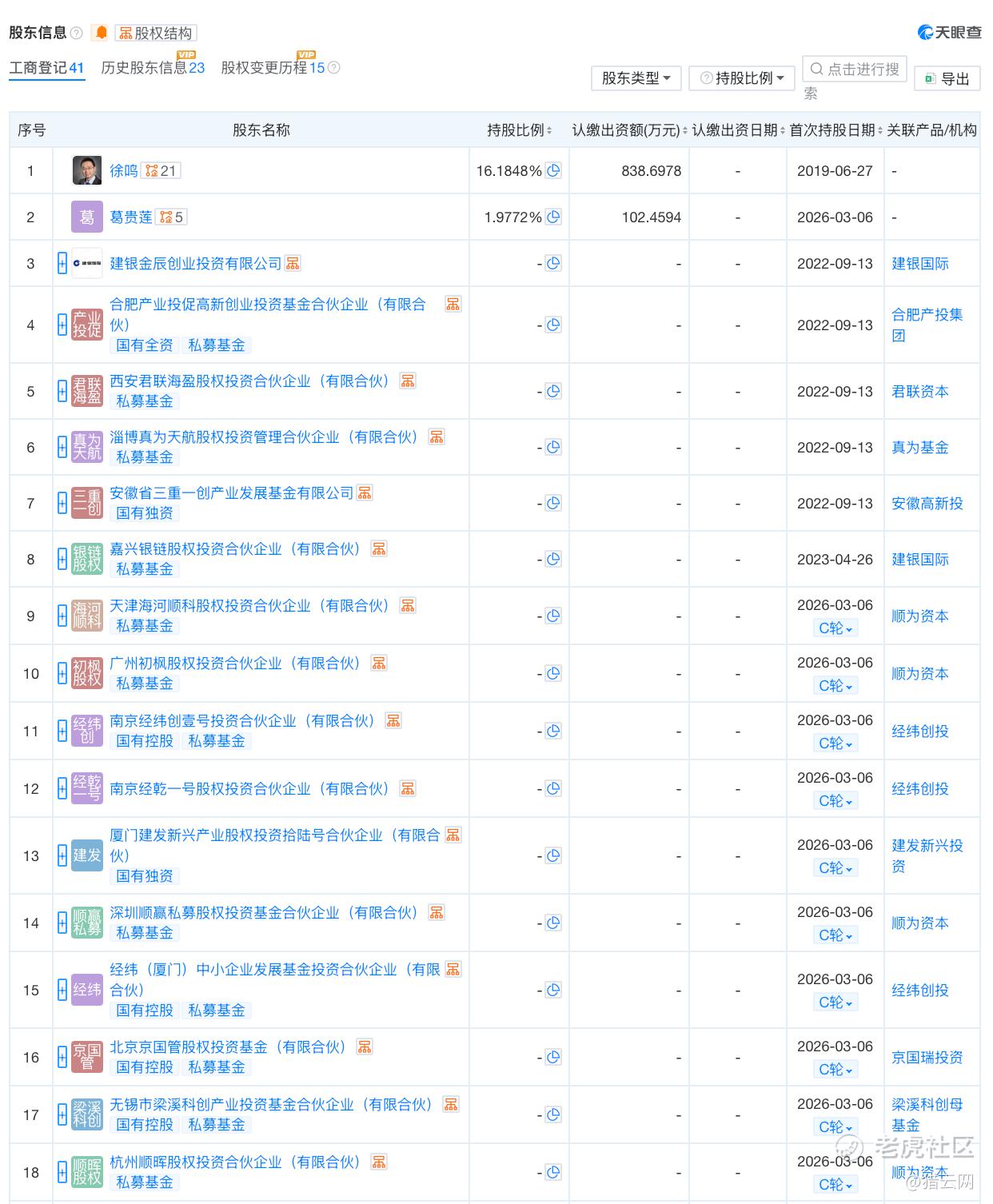
值得一提的是,天眼查App信息显示,在银河航天的8轮融资中,雷军旗下顺为资本共出现5次,可见支持力度之大。
除了顺为资本等A轮投资方,银河航天还在后续融资中吸引了建银国际、合肥产投集团、真为基金、安徽高新投、经纬创投、建发新兴投资、京国瑞投资、梁溪科创母基金、北京市商业航天和低空经济基金、亦庄国投、御海资本、无锡交通集团、建投华科、高瓴创投、中金资本、众禾股权等一众知名投资方。
据辅导备案报告显示,银河航天创始人、董事长兼CEO徐鸣直接及间接持有公司22.04%股份,结合特殊表决权安排,合计控制72.87%表决权,为实际控制人。
来源:天眼查
拥有百颗卫星量产能力,已发射超40颗卫星
作为我国商业航天领域第一家独角兽公司,发展至今,银河航天致力于通信载荷、核心单机、卫星平台的自主研发与低成本量产,在西安、成都和北京分别构建了国际领先水平的通信载荷、核心单机和太阳翼的配套研制能力,并在南通建设新一代卫星智能制造工厂,已实现百颗卫星的量产能力。
卫星批产已成为太空新基建发展的关键能力,据银河航天型号总师胡照此前介绍,银河航天卫星智慧工厂已构建起从卫星零部件研发、生产到整星集成测试的完整产业生态。团队聚焦批产效率提升与优化,研发了卫星协同智能调度系统,进一步缩短了卫星研制周期。
2020年1月16日,我国在酒泉卫星发射中心用快舟一号甲运载火箭,成功将我国首颗通信能力达10Gbps的低轨宽带通信卫星——银河航天首发星发射升空,卫星顺利进入预定轨道。
据介绍,银河航天首发星是该公司自主研发的具有国际先进水平的低轨宽带通信卫星,随后,该卫星完成了Q/V频段馈电链路的建链等诸多关键技术验证,开展了低轨宽带通信卫星高频毫米波在高湿度环境下通信能力的测试、低轨宽带卫星与5G专网融合试验等一系列星地融合5G试验。
2022年3月5日,银河航天自主研发并成功发射了我国首次批量研制的六颗低轨宽带通信卫星——银河航天02批批产卫星,验证了我国具备建设卫星互联网巨型星座所必须的卫星低成本、批量研制以及组网运营能力。该批卫星已在轨与银河航天首发星共同组成我国首个低轨宽带通信试验星座,构建星地融合5G试验网络“小蜘蛛网”。
值得一提的是,“小蜘蛛网”完成了多项全球和国内首创的卫星互联网应用验证,已在手机直连等前沿技术领域达到对标“星链”的水平,成功实现了128波束的验证。
2022年,银河航天自主研制平板堆叠式卫星,采用一体化多功能框架、支持一箭多星堆叠发射,配置高收纳比柔性太阳翼、主动热控流体回路、灵活数字载荷,卫星综合性能达到国内领先水平,具备星座快速部署能力,支持低成本、批量化制造。
2023年7月23日,银河航天灵犀03星在太原卫星发射中心使用长征二号丁运载火箭发射升空,卫星顺利进入预定轨道,发射任务获得圆满成功。银河航天灵犀03星是我国首款使用柔性太阳翼的平板式通信卫星,此次发射也是我国首次在轨对多星堆叠发射技术进行验证,将为我国低轨通信卫星星座的快速部署提供技术支撑。
2026年1月19日,我国在海南商业航天发射场使用长征十二号运载火箭,成功将卫星互联网低轨19组卫星发射升空,卫星顺利进入预定轨道,发射任务获得圆满成功。该组卫星,是银河航天持续独立承担此类太空基础设施建设研制的第二组卫星。
来源:银河航天
银河航天还基于自身完备的卫星研制能力和良好的商业口碑,先后获得了多个商业合作伙伴的遥感卫星产品订单,并成功在海外落地应用,实现了中国卫星互联网首次出海。
目前,银河航天已逐步形成较为完善的卫星平台型谱,包括平板堆叠式卫星平台、200-700kg级通信卫星平台、100-500kg遥感卫星平台、灵巧型卫星平台等,可全面满足卫星宽带通信、光学遥感、SAR、导航增强、频谱感知等不同领域的应用需求。同时,银河具备微波通信载荷、相控阵天线、数字处理载荷等先进载荷产品,以及综合电子、能源、测控等核心平台产品的低成本、批量研制能力。
截至2026年1月19日,银河航天已成功发射了自主研制的40余颗技术先进的卫星,包括全球首颗高频低轨毫米波卫星、我国首次批量研制的低轨宽带通信卫星、我国首颗使用柔性太阳翼的平板可堆叠卫星、批量研制的SAR(合成孔径雷达)卫星、中高层大气临边探测遥感卫星等。
资料显示,2025年,中国商业卫星发射309颗,同比增长54%,五年复合增长率70.8%。这个数字意味着,中国商业卫星制造,第一次真正进入规模交付阶段。
未来,银河航天的卫星发射征程,仍将继续加速迈进。
修改于 2026-04-01 16:57
免责声明:上述内容仅代表发帖人个人观点,不构成本平台的任何投资建议。


