摩根基金“派点门”:上半年60只基金追涨新易盛,去年四季度55只基金杀跌茅台
出品|公司研究室基金组
文|楚山青
近日,有网友@Alazxz晒出安信证券上海销售做的分析客户的PPT,不小心发到了客户大群,ppt里写了摩根的基金经理很懒,吃拿卡要,喜欢活动喜欢收礼。不过,针对这件事,安信证券已专门出具了一份“情况说明”,借此向摩根基金说明情况并致歉。
上述PPT里,安信证券这位销售称:摩根喜欢右侧风格,比较喜欢追涨杀跌......这一点,引起许多投资者关注,如果摩根的基金经理果真如此操作,那基民的基金资产可就悬了。
为此,公司研究室特地调研了摩根基金权益投资情况,对公司股票操作做了追踪分析。
在管规模不到2年减少563亿,其中混合型基金规模下滑46.06%
公开信息显示,摩根基金管理(中国)有限公司,成立于2004年5月。截至2023年11月23日,摩根基金管理规模1294.02亿元,在206家公募基金公司里,排名第42位。不过,相较于2021年底的1857.2亿,不到两年时间,其资管规模减少了563.18亿。
公司研究室注意到,摩根基金的资产主体是货币型基金,目前规模是580.94亿;其次是混合型基金,316.56亿;第三是债券型基金,243亿;第四是股票型基金,93亿;第五是指数基金,93.29亿;第六是QDII,60.21亿;最后是指数型基金,27.82亿。
截至2023年9月30日,与2021年12月31日相比,摩根基金多类资产出现下跌,其中,货币型基金减少了338.91亿,混合型基金减少270.29亿,股票型基金减少了56.25亿。
相对于货币型基金36.84%的下滑,摩根基金旗下的权益类产品规模下降幅度更大,其中,混合型基金规模下滑46.06%,股票型基金规模下滑37.52%。
与此同时,摩根基金债券型与指数型基金逆势增长。
截至2023年10月24日,债券型基金增长103.31亿;截至2023年11月23日,指数型基金增长18.02亿,比2021年底增长了183.88%。这一点,与整个基金业大趋势相似。此外,QDII基金,先快速下滑,近期又快速增长,目前规模已基本与2021年底时持平。
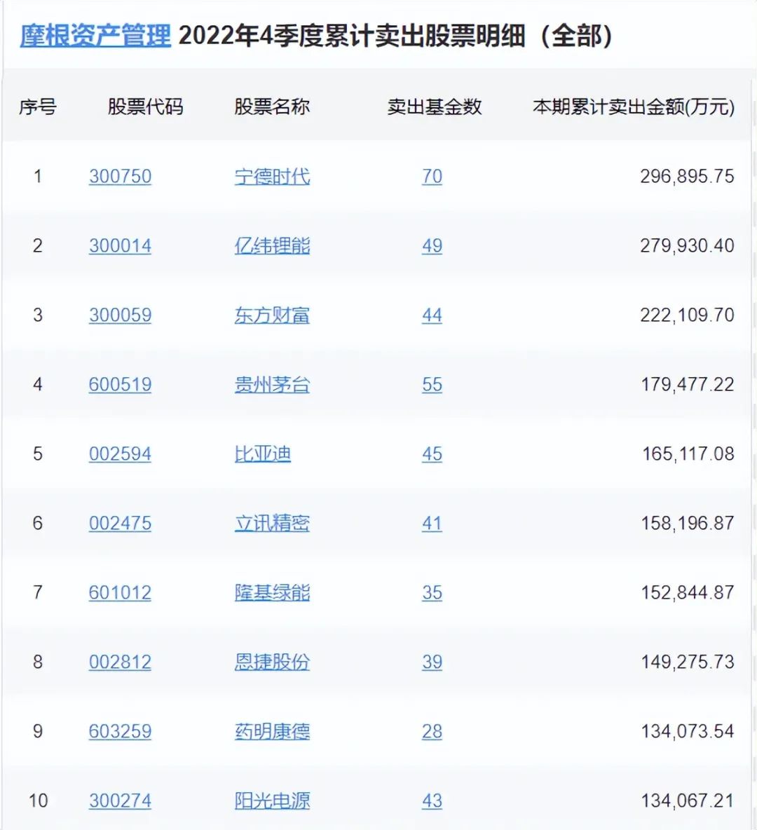
去年四季度杀跌贵州茅台,55只基金卖出17.95亿元
公开信息显示,摩根基金目前有32位基金经理,其中,杜猛担任副总经理兼投资总监。
上述摩根基金与安信证券的“派点门”中,那位销售经理曾提到过杜猛,认为他是公司内部核心人物之一。
上述PPT中称,摩根基金的关键领导是投资总监——杜猛,话语权大,有排名调节权。而且指称,“摩根基金喜欢右侧风格,喜欢开始涨的股票,比较追涨杀跌。同时喜欢搞票,追求核心圈。”
那么,杜猛及其基金经理下属们,实际操作究竟如何,有没有上述PPT中所说的追涨杀跌特点?为此,公司研究室特地追踪了摩根基金近1年股票持仓变动情况。
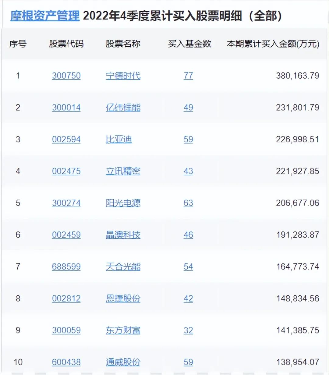
首先,我们对比了2022年4季度摩根基金累计买入与卖出前十股票。
为了简明扼要地对比,我们只分析那些单纯卖出或买入的个股,不去分析那些买卖交易都有的股票。
天天基金网显示,4季度摩根基金买卖前十股票中,单向买入的股票有3只,分别是:晶澳科技(002459.SZ)、天合光能(688599.SH)、通威股份(600438.SH)。
4季度摩根基金买卖前十股票中,单向卖出的股票也有3只,分别是:贵州茅台(600519.SH)、隆基绿能(601012.SH)、药明康德(603259.SH)。
从股价K线走势图上看,虽然晶澳科技、天合光能属于高位买入,但追涨特征不是很明显;但贵州茅台的杀跌操作,就太过明显了。这一点,从股价走势图上看,一目了然。
去年4季度,正是白酒股集体下跌的时候。
数据显示,贵州茅台2022年10月份大跌28.64%,整个四季度下跌超6%。这期间,摩根基金旗下55只基金,卖出贵州茅台17.94亿元。回头看,他们恰恰卖在这只白酒龙头股,股价V型反转的底部漏斗位置,基本上是卖在了地板上。
上半年追涨人工智能,60只基金买入新易盛12.55亿
紧接着,公司研究室又对比了2023年2季度摩根基金累计买入与卖出前十股票名单。
同样,为了简明扼要地对比,我们只分析那些单纯卖出或买入的个股,不去分析那些买卖交易都有的股票。
这样一来,今年2季度摩根基金买卖前十股票中,单向买入的有8只,分别是:大华股份(002236.SZ)、晶澳科技(002459.SZ)、新易盛(300502.SZ)、天孚通信(300394.SZ)、中兴通讯(000063.SZ)、金山办公(688111.SH)、腾讯控股(00700.HK)、工业富联(601138.SH)。
这里面,除了晶澳科技,几乎都与上半年热炒的AI等人工智能概念有关,其中,新易盛、天孚通信属于这波炒作中的明星股。
数据显示,从2023年4月3日到6月30日,新易盛股价涨幅96.12%。在此期间,摩根基金旗下60只基金,累计买入这只股票12.55亿元。
因此,从股价走势图上看,摩根基金对这些股票的买入,很难摆脱追涨嫌疑。而且,这些买入非常符合上述安信证券PPT中,对摩根基金股票操作风格的描述:“摩根基金喜欢右侧风格,喜欢开始涨的股票,比较追涨杀跌。”
上半年2季度,摩根基金买卖前十股票中,单向卖出的有8只,分别是:阳光电源(300274.SZ)、比亚迪(000254.SZ)、通威股份(600438.SH)、天合光能(688599.SH)、宁德时代(300750.SZ)、天华新能(300390.SZ)、双良节能(600481.SH)、立讯精密(002475.SZ)。
看上去,几乎是清一色的新能源车概念。由于其中多只股票,摩根基金旗下基金曾反复操作,是否属于杀跌,姑且不做定论。
免责声明:上述内容仅代表发帖人个人观点,不构成本平台的任何投资建议。


