汇伦医药冲刺港股:年营收6.9亿 净亏1.7亿 董大伦众多家属持股
雷递网 雷建平 4月3日
上海汇伦医药股份有限公司(简称:“汇伦医药”)日前递交招股书,准备在港交所上市。
年营收6.9亿 净亏1.7亿
汇伦医药是一家医药公司,截至最后实际可行日期,已拥有一个由十多种已上市产品和多种候选药物组成的产品组合,涵盖免疫炎症、疼痛治疗、肿瘤学及其他慢性病等关键治疗领域。
招股书显示,汇伦医药2023年、2024年、2025年营收分别为9.85亿、6.86亿、6.86亿元;毛利分别为8.5亿、5.69亿、5.71亿。
于往绩记录期间,汇伦医药的收入主要来自销售主要已上市产品,即希为纳®及佐愈®。同时,汇伦医药的创新药物管线已取得稳步进展,包括四款I类创新药物及三款II类改良新药目前处于临床开发阶段。
汇伦医药2025年来自希为纳的收入为3.7亿元,占营收的比例为54%;来自佐愈的收入为7564万元,占比为11%;
汇伦医药2025年来自康迈瑞收入5323万,占比7.8%;来自利尔班的收入为4292万,占比6.4%;来着蒂诺安的收入9182万元,占比为13.4%。
汇伦医药2023年、2024年、2025年年内利润分别为2066万、-1.23亿、-1.74亿。
截至2025年12月31日,汇伦医药持有的现金及现金等价物为1.37亿元。
董大伦众多家属均持股
汇伦医药执行董事分别为董大伦、董竹、秦继红博士、张玉虎;非执行董事为陈尉,独立非执行董事分别为俞建春、李显林、冯素贞博士。
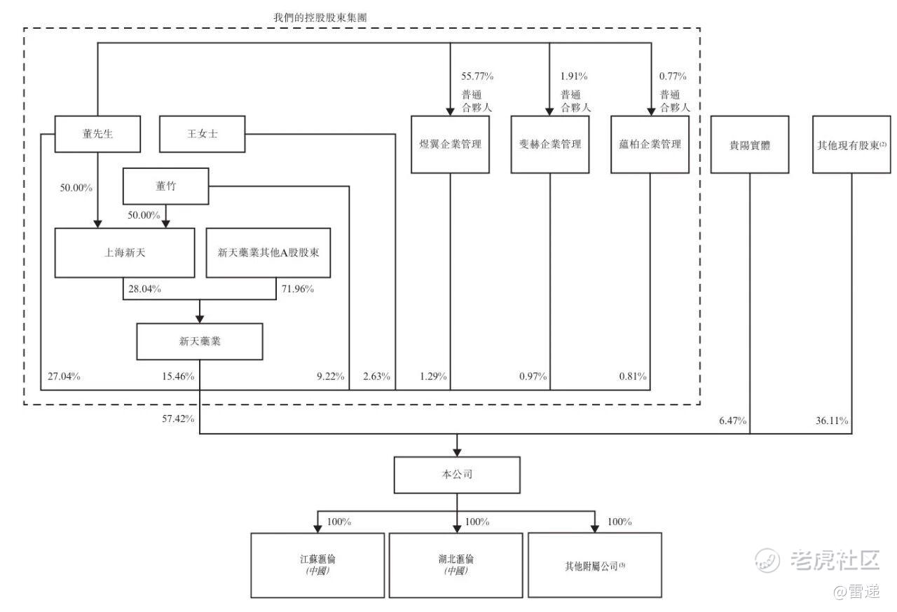
IPO前,董大伦持股为27.0425%,新天药业持股为15.4567%,董竹持股为9.2195%;
激励平台上海荟谦纳持股为1.6580%,激励平台煜翼企业管理持股为1.2882%,激励平台斐赫企业管理持股为0.9724%,激励平台蕴柏企业管理持股为 0.8052%,激励平台贵州思瑞德持股为0.5732%。
董大伦一共控制公司57.42%股权。
贵阳生物医药产业投资持股为3.4838%,贵阳引导基金持股为1.7812%,贵阳中小企业发展基金持股为1.2014%。
青岛天自持股为3.6432%,烟台天自持股为1.0784%;贵州省新型工业化发展基金持股为2.9590%,贵州省金产基金持股0.6195%,海南众泰持股为2.9841%,王女士持股为2.6266%;
海南金慧丰持股为2.0321%,金慧丰新越持股为0.5386%,北京金慧丰投资持股为0.4372%,上海卓楹持股0.3708%,北京施普兰迪持股0.3398%,融健达创投持股为1.6157%,平阳朴毅持股为1.6019%;
珠海康橙八期持股1.4573%,珠海康橙六期持股0.3643%,嘉兴华玉持股1.3887%,双福酒店持股1.0507%,上海高信持股为0.7651%,万联广生持股0.7286%,广州天泽持股为0.3425%,贵州天祥持股为0.4561%;
秦继红博士持股2.6784%,董晔持股0.7872%,刘鹏持股为0.649%,王金华持股为0.4512%,钟雨桐持股为0.3097%,董伟持股为0.2987%,唐黎持股为0.2787%,袁野持股为0.2557%,李辉贵持股为0.2477%,王光平持股为0.2122%,钟艾珈、钟艾珂分别持股为0.2013%,北京佳诚、程雪翔分别持股为0.1576%,张敬持股为0.1548%。
董大伦为公司创始人兼董事长,监督整体管理与战略发展。董大伦在中国制药行业拥有逾30年经验,在战略制定、企业管理及公司治理方面造诣深厚。董大伦1995年创立新天药业,并一直担任董事长。在其领导下,新天药业实现运营的现代化与业务拓展,并于2017年在深圳证券交易所A股。董大伦拥有南京药学院(现称中国药科大学)生物制药专业学士学位。
董竹为董大伦的儿子。王柳珍女士为董大伦的妻子,董晔、董伟、董有迅、董友权均为董大伦的侄子、袁野为董董大伦的姐夫╱妹夫)、王文意(董大伦的妻弟及新天药业董事)、董大华、董大恒均为董大伦的兄弟,林小红(董大伦侄子的嫂子)、张柳(董大伦侄子的配偶)、张钰莹、韩先红均为董大伦侄子的亲属;
秦继红博士,为公司总经理兼联合创始人,在医药行业研发及执行管理方面拥有二十余年丰富的经验,其持有中国科学院上海有机化学研究所有机化学博士学位。
———————————————
雷递由媒体人雷建平创办,若转载请写明来源。
免责声明:上述内容仅代表发帖人个人观点,不构成本平台的任何投资建议。


