从200元手搓机器狗,到全球人形机器人出货量第一,宇树科技正式开启IPO,这个"偏科少年"用10年证明了一件事:技术偏执者,也能成功。上市前127亿估值,在今天的一级市场,真不贵,这是一张通往未来机器人世界的船票。上船的天使、VC、大厂与国资,很开心。
作者丨薛皓皓
编辑丨巴里
图源丨宇树科技
2026年3月20日,宇树科技股份有限公司的科创IPO申请获得上海证券交易所正式受理。
公司在2024年营收达3.92亿元,2025年预测营收更是暴增335%至17.08亿元,连续2年保持盈利。
在行业普遍深陷“烧钱造梦”泥潭的当下,宇树科技凭借全栈自研与极致降本,不仅将四足机器人卖到了全球,出货量保持全球第一,更在2025年实现了人形机器人出货量超5500台。
早在2016年公司成立仅三个月时,个人投资者尹方鸣便成为第一个入股的“伯乐”;2018年,极客公园相关的变量资本和Arm旗下的安创加速器也向宇树伸出援手。
随着宇树在四足机器人领域的崭露头角,由腾讯联合创始人曾李青创立的德迅投资,以及红杉中国、顺为、经纬创投等顶级VC机构接踵而至。
在战略投资方阵营中,上市前,美团系合计持股超9.6%,稳居最大外部机构股东之位;雷军的顺为资本(Astrend IV,4.4%)、字节跳动旗下的锦秋基金、阿里巴巴战投、蚂蚁集团、腾讯投资、吉利汽车等互联网和产业巨头也纷纷入局,为其提供了强大的生态支持。
与此同时,以京国瑞投资(通过北京机器人产业投资基金持股3.8262% )、中网投(2.1089% )、深创投(1.59%)、上海科创、中关村科学城为代表的国家级与地方国资也加入宇树的支持者阵营,共同托举起这家具身智能赛道的百亿独角兽。
根据招股书,美团、红杉、经纬分别是宇树科技的前三大外部股东,占比分别为9.65%、7.12%、5.45%。对于那些早期投资者,他们已通过股权转让而部分退出,比如尹方鸣、张鹏、安创加速器和德迅投资,持股比例小于1%。
当年在“车库”手搓机器狗的少年,正走向他的上市铜锣。
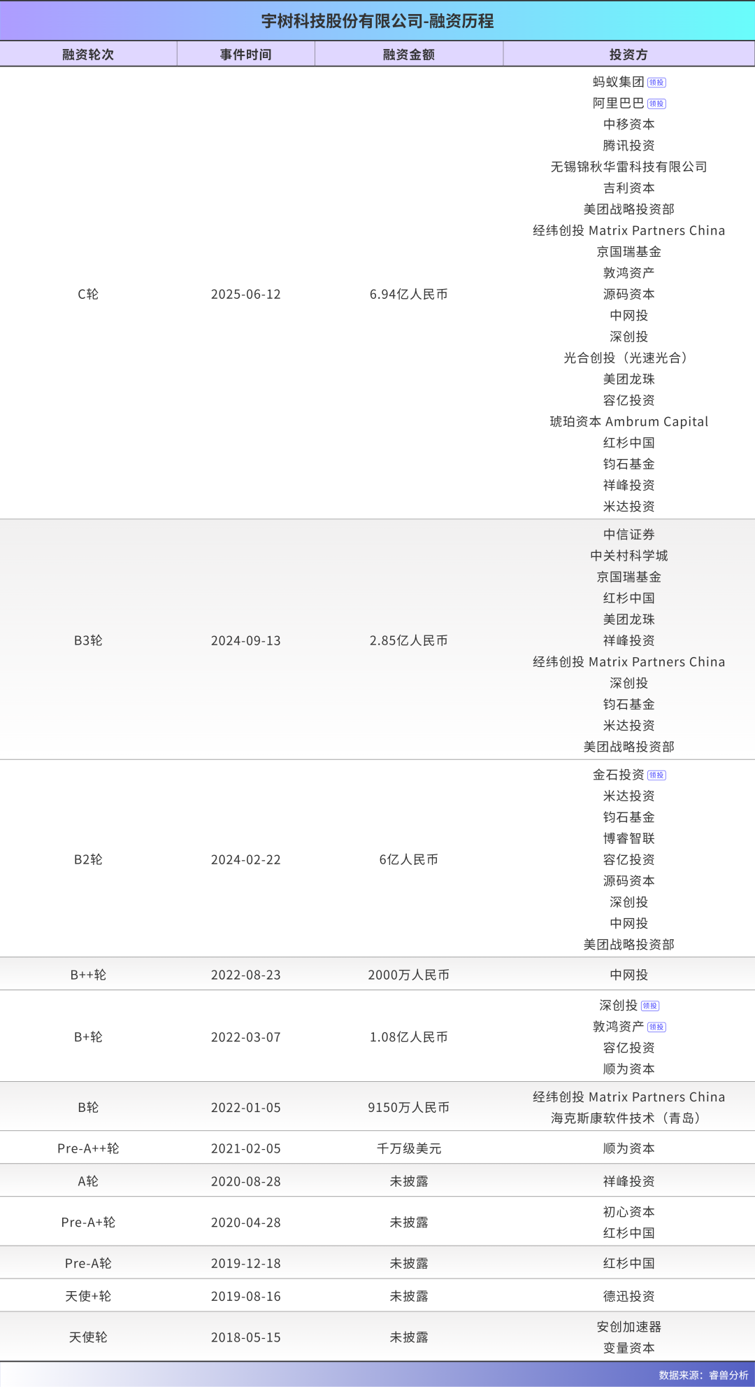
百亿独角兽吸引40余家投资方
在宇树科技冲刺科创板、发行市值预计不低于127亿元的耀眼光环背后,是一场长达近十年的资本接力赛。
翻开招股书,这家百亿独角兽身后站着40余家投资方。
从最早期的个人天使尹方鸣、极客公园旗下的变量资本,到红杉中国、顺为资本、经纬创投,再到如今的美团、腾讯、小米、阿里等巨头,还有京国瑞投资(北京机器人产业发展投资基金)、上海科创基金、中关村科学城等国资纷纷入局。
2016年11月,宇树科技刚刚成立三个月,前roobo联合创始人、曾任搜狗手机输入法产品负责人的尹方鸣,成为第一个入股宇树的投资人,当时占股超10%。有趣的是,后来他还参与孵化并天使投资了另一家估值超200亿的人形机器人独角兽——银河通用。
招股书显示,如今尹方鸣已退出了其股份,不过他仍然以LP身份,通过天津君万弘毅合伙企业间接持股,该合伙企业目前持股3.07%,对应股权价值约3.9亿元(按照127亿元计算)。
2017年,据说,王兴兴带着机器狗原型四处碰壁。在乌镇世界互联网大会的一场闭门座谈会上,极客公园创始人张鹏将王兴兴拉入局,试图向在座的雷军、王兴、周源等业界大佬们展示产品,却因机器狗在门槛边绊倒死机而无功而返。
然而,张鹏自己被王兴兴的机器狗原型Laikago深深震撼,随即飞赴杭州。在滨江区一个连门牌都找不到、堆满零件的“车库”办公室里,张鹏和王兴兴聊了两个多小时。
宇树科技机器狗Laikago
2018年5月,张鹏旗下的变量资本和Arm旗下的安创加速器投资了宇树的天使轮。
2018年8月,由腾讯联合创始人曾李青创立的德迅投资成为最先认同的主流投资人。作为中国少数几个有话语权的超级天使,他的投资和认同,对王兴兴至关重要。也终于让王兴兴开始进入主流VC的视野。
但这三家机构,均在2024年,市场逐步对人形机器人赛道开始共识的阶段,进行了部分退出。
根据招股书披露的2024年6月至8月股权转让情况,张鹏旗下的极思投资将其持有的股份以2456万元的对价转让给了琥珀资本。安创科技在2024年9月分别向光和创投(光合贰期)、光越投资转让了部分股权,转让对价合计5000万元;德迅投资则在2024年6月至8月期间,将其持有股份以3000万元人民币的对价转让给了源码资本。
进入2019年,具身智能的赛道依然冷清。
时任红杉中国种子基金投资副总裁的李彦男在年初接触到了王兴兴。因为高铁不能携带高能量电池,王兴兴抱着产品坐了十多个小时的车来到红杉北京办公室路演。当AlienGo展示出强大的负载能力和空翻等高难度动作,且价格仅为波士顿动力的十分之一时,红杉团队被彻底折服。
值得一提的是,当时在董事会上力挺宇树的还有前红杉中国合伙人曹曦,他后来离开红杉,创立了Molith(砺思资本)。
红杉中国当场发出投资意向书,并在三个月后再次领投Pre-A+轮,2020年4月跟随进入的还有初心资本。随后在B3轮和C轮持续跟投。招股书显示,目前红杉中国系合计持股7.11%,按127亿计算,其股权价值已超9亿元。
2020年8月,祥峰投资加入支持者阵营。
2021年7月,雷军旗下的顺为资本独家领投了宇树数千万美元的A轮融资。
在2026年3月的小米新一代SU7发布会上,雷军与王兴兴同台互动,公开致谢:“今年是宇树科技创业十周年。谢谢你在五年前给了我们一个投资的机会。”目前,顺为资本关联方通过Astrend IV持股4.43%,对应股权价值约5.62亿元。
小米新一代SU7发布会,雷军与王兴兴同台
2021年12月30日经纬创投领投了宇树9150万元的B1轮融资,其中经纬投资7150万元,并在随后的B3轮和C轮中持续加注(累计投资约1.8亿)。股权变更在2022年1月完成。
这轮一同投资宇树的,还有一个跨国公司,来自瑞典的海克斯康,它投资宇树2000万元,这个做法值得很多跨国公司学习。这家公司是全球领先测量技术与信息技术提供商,于2000年正式成立。 海克斯康也是宇树发展全球2B市场的重要合作伙伴,已经在智能制造、智慧城市等领域上达成了战略合作。海克斯康集团全球副总裁及大中华区总裁李洪全曾经表示:“我们很高兴作为战略投资人投资宇树。我们非常看好宇树在全球四足机器人领域的领先地位和未来的长足迅猛发展前景……”
经纬创投合伙人王华东直言,宇树在四足机器人领域有着领先的核心零部件自研能力,多款产品在量产及交付上领先于竞争对手。目前,经纬创投系合计持股5.45%,对应股权价值约6.93亿元。
随后,2022年3月,深创投和敦鸿资产领投,容亿投资和顺为跟投,投入总计1.08亿元,这轮投后估值为11.08亿。
2022年8月,国资代表中网投资以2000万元投资宇树。
但资本市场真正的共识是2024年。
2024年2月,宇树科技完成了6亿元的B2轮投资,由陈绍辉(早年曾任职红杉中国)带领的美团战略投资部在这一轮领投,在工商登记上显示,张海峰(此前在鼎晖投资创新与成长基金合伙人,曾上榜2016-2020年创业邦4040投资人)曾在宇树担任董事。
同年9月,由美团龙珠又在B3轮追加投资,主要负责为王新宇(曾上榜2025创业邦4040投资人榜),美团系的两家投资机构又在2025年C轮进一步投资(累计投资超4亿元)。
值得强调的是,美团虽然入局时间偏后,但凭借连续的大额重仓,目前美团系合计持股高达9.65%,一跃成为宇树最大的外部机构股东,其持股价值已超12.25亿元。
回忆起投资逻辑,美团龙珠合伙人王新宇曾表示,2023年底,他去了一趟美国,拜访了哈佛、麻省理工、斯坦福、伯克利等几个学校的机器人实验室,发现他们的实验室里都有宇树的机器狗,而且都对宇树的人形机器人非常感兴趣,想要买,那时候还没正式发售。
“如果全世界最优秀的机器人专业博士都在用他的产品来做开发,并且打算买他的产品,那这一定是一个投资拐点。”王新宇判断。
这一轮加入的还有金石资本、源码资本等机构,深创投、中网投等老股东也进行了跟投,投后估值31亿。随后,如上文所述,源码和光速也购买了部分天使的老股。
在2025年6月的C轮融资中,宇树科技更是迎来了产业资本的“大拥抱”。
除了美团系,由原字节跳动财务投资负责人杨洁创立、与字节跳动有着深厚渊源的锦秋基金,以及阿里巴巴、蚂蚁集团、中国移动旗下基金、腾讯投资和吉利资本等巨头共同领投了这轮始于2024年底的6.94亿融资,投前估值已超过100亿元人民币,投后估值约127亿。
与此同时,地方国资也密集入局,共同托举起这家具身智能赛道的百亿独角兽。
早在2024年3月底,由京国瑞与首程控股共同管理的北京机器人产业发展投资基金就完成了对宇树科技的投资协议签订。
2024年8月,宇树正式完成国资带头的2.85亿人民币投资,京国瑞、中关村科学城、上海科创基金等地方国资也纷纷入局,其中上海科创在2024年6月至8月期间,受让了顺为资本的股权,转让对价为人民币1500万元等值美元。
这些资本的注入,为宇树科技在各地的产业落地和生态构建提供了坚实的保障。
2025年卖机器人卖了17亿
招股书数据显示,宇树科技正处于爆发式增长的拐点。2022年,公司营收仅为1.23亿元,而到了2024年,这一数字已跃升至3.92亿元。更令人瞩目的是,2025年全年预测营收高达17.08亿元,同比暴增335.36%。
在营收狂飙的同时,公司的盈利能力也在持续优化。预测扣非净利润更是达到6亿元,同比激增674.29%。主营业务毛利率从2022年的44.18%一路攀升至2025年前三季度的59.45%。
这种“量价齐升”的戴维斯双击,在硬科技创业公司中实属罕见。
支撑起这份华丽数据的,是宇树科技在商业模式上的“全栈自研”。
从具身智能、强化学习等核心模型算法,到高性能电机、减速器等核心部组件,宇树科技将产业链的命脉牢牢掌握在自己手中。
这种“整机与核心部组件自主装配,非核心零部件外采”的生产模式,不仅大幅提高了机器人的集成度与运动能力,更赋予了公司在定价权上的绝对优势。
报告期内,其四足机器人累计销量超过3万台,奠定了全球市场的绝对优势。然而,宇树科技的野心远不止于此。
宇树科技机器狗Go2
人形机器人业务的爆发,成为了宇树科技第二增长曲线的最强引擎。
招股书显示,2023年人形机器人仅售出5台,贡献了不到2%的营收;但到了2025年前三季度,人形机器人销量飙升至3551台,销售收入达到5.95亿元,占比高达51.53%,首次超越四足机器人成为公司第一大收入来源。
2025年全年,宇树科技人形机器人出货量超5500台,稳居全球第一。其中,售价降至10万元以内的中型人形机器人G1,凭借极高的性价比和出色的运动性能,成为2024至2025年全球最畅销的人形机器人。
宇树科技人形机器人G1
在销售渠道上,宇树科技构建了“四轨并行”的立体网络(线上与线下,直销和经销)。线下的直销与经销贡献了超过86%的营收,覆盖了境内外科技企业、科研机构及高等院校等核心B端客户。
同时,通过天猫、京东、亚马逊等平台的线上销售及电商入仓模式,公司也成功触达了更广泛的C端及长尾市场。这种全渠道的覆盖能力,使得宇树科技的产品能够迅速在巡检勘测、消防救援、科研教育等多个场景实现规模化应用。
从2020年A1四足机器人创下奔跑速度纪录,到2025年G1实现电驱原地侧空翻,再到2026年初24台G1与1台H2在《武BOT》表演中展现毫秒级协同,宇树科技始终在刷新行业的技术标杆。
更具前瞻性的是,2025年7月发布的轻量级机器人R1,不仅具备多模态交互功能,更被《时代周刊》评为年度最佳发明,旨在为全球开发者提供一个高性价比的开放平台。
宇树科技人形机器人R1
异类的成功
王兴兴,这位1990年出生于浙江宁波余姚的年轻人,并非传统意义上的“学霸精英”。从小动手能力极强的他,曾因英语成绩不理想被贴上“偏科”甚至“有点笨”的标签。
宇树科技创始人兼CEO 王兴兴
然而,正是这种对技术的偏执与专注,为他日后在具身智能赛道的狂飙,埋下了伏笔。
早在浙江理工大学本科阶段,王兴兴就展现出了惊人的极客精神。当大多数同学还在按部就班地完成课业时,他仅用200多元的极低成本,利用手动钻头和边角料,硬是敲打出了一台桌面双足机器人。
在上海大学攻读机械工程硕士时,为了自研一款机器狗XDog,王兴兴甚至延毕半年。2015年,他带着这台倾注了无数心血的XDog参加上海机器人设计大赛,一举斩获二等奖及8万元奖金,赚到了人生的第一桶金。
上海大学读研期间的王兴兴在实验室
2016年毕业后,王兴兴短暂加入了大疆。但是,他更想创业。
王兴兴在2016年8月正式创立了宇树科技。
招股书显示,王兴兴发行前合计控制公司 34.7630% 的股份 ,由于公司采用了特别表决权股份安排,王兴兴合计控制的表决权比例达到 68.7816%。本次发行后,王兴兴合计控制的表决权比例将降至不超过 65.3090%。
他的创业团队的核心成员有三位:杨知雨,1991 年出生,2016年就加入公司,负责机械结构的研发,持股比例4.9142%,93年出生的张阳光,2018年 1 月至今于宇树科技任职,是现任公司董事、算法与软件负责人,持股比例为4.9142%。还有一位同学陈立,1990 年出生的他2018年加入公司,负责销售和服务体系,持股比例5.4603%。这三位核心同事的股份都是通过上海宇翼间接持有。
在随后的创业历程中,王兴兴将“全栈自研”与“极致降本”的理念贯彻到底。
早在创业初期,王兴兴就采用电机驱动技术路线,并自研所有核心的零部件,包括电机和减速器。
同时,“全栈自研”不仅大幅提高了机器人的集成度和运动能力,也是实现“极致降本”的的关键:2023年,其一台Go2更是将价格打到了9997元,首次将四足机器人拉入“万元时代”。
在人形机器人领域,售价降至10万元以内的G1,更是凭借极高的性价比成为近两年全球最畅销的人形机器人。
然而,在硬件和运动控制上做到极致的宇树科技,对机器人“大脑”(即具身智能算法和AI大模型)的投入相对不足。
然而,在宇树科技冲刺IPO的背后,具身智能赛道的竞争已然白热化。
据不完全统计,截至2026年初,国内人形机器人相关企业已超140家,其中估值超百亿的独角兽企业至少达到6家。在这个疯狂生长的赛道里,宇树科技虽然在硬件和运动控制上做到了极致,但在机器人"大脑"(即具身智能算法和AI大模型)的投入上,正面临着后来者的强力追赶。
以银河通用为例,这家由北大90后教授王鹤创立仅不到三年的公司,凭借其全球首个集成"大脑-小脑-神经控制"于一模的端到端具身大模型"银河星脑",迅速成为资本市场的宠儿。2026年3月,银河通用宣布完成25亿元新一轮融资,刷新国内具身智能单轮融资纪录,估值突破200亿元。
为了补齐这一短板,宇树科技正在加速追赶。招股书显示,本次IPO募资的一大部分资金,将直接投向具身智能大模型的研发与算力中心的建设。
宇树科技在近两年迎来了真正的“火爆出圈”。
2025年3月,G1人形机器人实现电驱原地侧空翻,刷新行业记录;2025年7月,轻量级机器人R1被《时代周刊》评为年度最佳发明;到了2026年初,24台G1与1台H2机器人在《武BOT》表演中展现毫秒级协同,更是引爆了全网的关注。
正在侧空翻的宇树科技G1
从卖硬件到卖生态,从四足机器人霸主到通用人形机器人领军者,宇树科技的商业逻辑已经非常清晰:以全栈自研构筑技术与成本的护城河,以极致性价比推动产品规模化落地,最终通过开源算法和开放平台,构建起属于自己的高性能通用机器人产业生态。
很多人看不懂王兴兴,就像当初看不懂那个在宿舍里用200元手搓机器狗的少年。当2026年具身智能赛道还在集体深陷“烧钱换梦想”的焦虑时,宇树科技(Unitree)却带着2025年的业绩直奔科创板,营收17亿,同比暴增335%,扣非净利润直冲6亿。和已经上市的很多硬科技烧钱的公司比,这个上市前的估值,当真不贵。
坐了7-8年冷板凳的王兴兴,开始成为资本的宠儿,他的成功,也给中国家长和教育体系上了一课:鸡娃拼成绩的家长,终于知道,孩子不进名校,也能成功。


