明知有衰退风险,美联储为何执意大幅加息

期海小舵手
2022-07-26

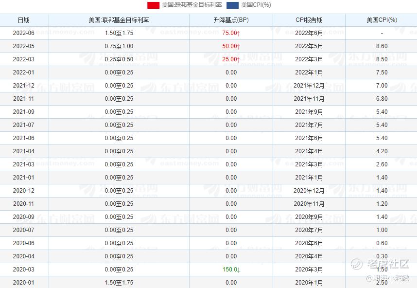
从2022年3月份以来,美联储已经连续进行三次加息,第1次是25个点,第2次是50个点,第3次是75个点。这也是近28年来最大加息幅度,尽管平了历史记录,但美联储似乎依旧没有收手的意思,据CME“美联储”观察:美联储到7月份加息75个基点的概率为90.6%。倘若如此,年底前,基准联邦基金利率将达到2008年以来的最高水平。

但连续三次踩刹车,仍然没有止住美国通胀上行压力,目前美国通胀压力已经创最近40年的最高记录,高通胀已经给美国市场造成了一定的冲击。按照有关数据推测,2022年6月份,美国的CPI仍然有可能达到8.9%。

而且7月份是美国能源消费比较旺盛的季节,尤其是民众出行需求比较大,这有可能进一步带动能源价格的上涨,所以不排除未来几个月美国的CPI有可能突破9%的大关。

一般认为,CPI在2%-3%之间是比较合理的,在3%-6%之间是比较温和的。显然,当下美国CPI的数字已经远远偏离了“温和”的轨道,亟待加以抑制。

然而美联储加息对经济的负面影响是显而易见的,市场资金减少、信贷收紧、企业融资难、经营成本上升、股市资金抽离,这些都将引发经济衰退,这点可以从美国GDP的增速看出来。

2021年第四季度,美国的GDP环比年化增长率还达到6.9%,但是到了2022年第一季度,美国GDP环比年化增长已经达到下降到-1.6%,可以明显地看出这个经济增速下降是比较明显的。

而当GDP连续两个季度呈现出负增长时,可以理解为出现“技术性衰退”,如果GDP连续几个季度都出现下降,那很有可能陷入真正的衰退当中。

就连美联储主席都直言“加息存在风险,即可能导致经济收缩,进而导致衰退”;同时,市场调查中,49名学者中的70%认为美国经济会在明年陷入衰退。

那既然美国经济有较大的概率会陷入衰退当中,为什么美联储还要执意持续加息呢?且加息频次高、单次加息幅度这么大?适当地保持流动性不是更能保持美国经济的增速,延缓美国经济衰退的步伐吗?

其实目前美联储正把自己逼上墙角,可以说是进退两难,加息也不是,不加息也不是,关键要看如何在利弊之间寻找一个最佳方案。

首先、美联储的宽货币效果已经见顶,如果不加息或者小幅度加息,可能没法把通胀压下去,反而会抑制消费的增长。

美联储当初开启宽松货币政策,就是希望向市场释放更多的流动性来带动社会的投资,如果这种计划能够顺利推进,在供给侧和需求能够实现双增长,那宽松货币政策将会起到很好的效果。

然而从事实来看,美联储释放的大部分资金并没有进入到实体经济当中,而是进入到金融市场当中,结果股市是不断飙上去了,但是就业率、制造业指数并没有太大幅度的增长,实体经济的供给也并没有明显的上涨。以石油行业为例,美国能源部长格兰霍姆一直在敦促美国石油商增加供应,同时指责他们“获利颇丰”却不提高产量,而是以增加股息和回购股票的方式回报股东。

但在市场流动性不断增加的背景之下,资金逐渐转化到物价上面,结果导致很多物价都出现了不同程度的上涨。物价稍微上涨确实能够带动经济的增长,但是如果通胀超过了一定的界限就会产生副作用。

因为在物价不断上涨,而大家的工资收入水平没有明显上涨的背景之下,很多居民就只能减少开支。

根据有关数据统计,在高通胀率重压下,目前超过80%的美国消费者正在大幅削减旅行和各类支出。他们采取的削减开支行动包括:戒烟;在折扣店购物;转向购买较便宜的自有品牌商品;从事零工以获得额外收入;在家煮咖啡;减少外出理发次数等等,这些举动说白了其实就是在抑制消费。

而一直以来美国的消费、服务业各方面都是拉动经济发展的重要动力,(消费对美国GDP的拉动力占82.59%),一旦消费拉不动了,服务业也搞不动了,那释放再多的流动性也没有用,反而会加大居民的压力。

所以当前美联储的主要任务之一,就是通过加息手段来控制通胀增长,试图把通胀控制到一定的水平,比如定个小目标,暂时先控制到5%以内,然后再追求2%的长期通胀目标。

其次、如果不加息很有可能引起滞胀,到时问题更严重。按照当前美国经济以及货币实际情况来看,美国很有可能陷入70年代的滞涨当中。

所谓滞胀简单来说就是物价上升,但经济停滞不前,从最近两个季度美国经济的实际表现来看,他们的经济增速正在放缓,但CPI却仍然持续上升,这是滞胀的苗头。

如果一个国家陷入长期的滞涨当中,到时经济就会长期徘徊不前,失业率也会逐渐攀升,长此以往甚至会削弱美国的整体竞争力。

为了避免这种问题的发生,对美国来说,他们只能从两个方面去解决。

第一、通过持续大幅度加息,降低通胀压力。

当前美国的通胀压力都是因为最近两年流动性泛滥导致的,这时候想要把通胀压力控制下去,加息是最好的手段,假如未来美联储进一步加息,市场流动性进一步减少了,虽然对股市会造成很大的冲击,但至少可以把通胀压力控制在一定的水平之内。

只有通胀压力恢复到跟美国居民收入水平差不多水平的时候,才能重新提高市场的消费信心,提高实体经济的信心。

第二、解决供给侧的问题。

目前造成美国通胀的原因除了消费端之外还有供给端的矛盾,其中供给端对通胀的贡献率至少达到50%以上,这要比消费端带来的通胀更大。

如果美国不能有效解决供给端的问题,即便加息也未必能够取到很好的效果,这也是为什么最近一段时间美国开始考虑取消对包括中国在加征关税的重要原因,他们就是希望通过降低关税引入更多的产品,以此来解决美国供给端的供给问题,还能把部分通胀压力转移出去。

如果美国以上两个步骤能够做得好,其实就可以避免经济陷入滞胀当中,甚至当通胀压力下降到一定的水平之后,适当的维持流动性以及美元回流还可以保持美国经济在低速状态下增长。

免责声明:上述内容仅代表发帖人个人观点,不构成本平台的任何投资建议。

精彩评论

  • 福斯特09
    2022-07-26
    福斯特09
    现在的美联储才是左右美股走势的那个关键先生
    • 福斯特09回复期海小舵手
      佩罗西的老公不是还买了英伟达的股票?
    • 期海小舵手
      现在各个部门官员不准炒股了,估计美联储在股市不崩的情况下,控制通胀的意愿和措施都会比较强
  • 权力的游戏厅
    2022-07-26
    权力的游戏厅
    保经济体系还是保金融,这是一个问题
  • 低买高卖谁不会
    2022-07-26
    低买高卖谁不会
    既要有要还要,这样有贪念的样子很不好
    • 期海小舵手
      其实不冲突,正常点操作,不作怪,自然就水到渠成
  • 老夫追涨杀跌
    2022-07-26
    老夫追涨杀跌
    你看到了很多人看不到的东西,很喜欢你的文章
  • ronniewyq
    2022-07-27
    ronniewyq
    看着似曾相识的感觉
  • 玉米地里吃亏
    2022-07-26
    玉米地里吃亏
    这么好的文章竟然被我撞上了,很有缘分
发表看法
11
1