韩国“春雨”打假杭州伸美,涉事产品曾由网红“蛋蛋”售出2万单

清扬君
01-24

热闹,真是热闹。

韩国春雨(Papa Recipe)母公司COSTORYCO.把前中国区独家代理商杭州伸美品牌管理有限公司(以下简称“杭州伸美”)告上了法庭,案由是侵害商标权及不正当竞争。

合作10年,分手后对簿公堂

企查查信息显示,杭州市中级人民法院已对相关案件排期,初步定于2026年1月28日开庭。这段持续近十年的“婚姻”关系,竟在解除不到两年的时间便走向诉讼,从昔日合作转为对簿公堂,令人唏嘘。

这可不是简单的分家纠纷。用圈内人的话说,叫“分手后,你成了我最像的敌人”。

事情得从头捋。papa recipe(春雨)是2012年由韩国Costory株式会社推出的护肤品牌,创始人金翰均因女儿敏感肌问题而创立,寓意“爸爸的礼物”,主打天然、安全、适合儿童及孕妇使用的护肤品。旗下还有INGA、CROSSKIN、ROSS BRIDE等品牌。

2014年,杭州伸美取得其中国代理权,并独家代理了近十年。凭借“0添加”“87%蜂蜜原液”等理念迅速将其打造为爆款。2016年,春雨全球售出1亿片面膜,其中90%来自中国市场;2018年签约范丞丞为代言人,新品果蔬面膜开售90分钟销售额破200万元,登顶天猫当日销量榜首。

那些年,大学生宿舍里经常能看到黄澄澄、带蜂蜜味的春雨面膜,说是“一代人的青春记忆”也不过分。

可是,没有不散的筵席。2023年12月,双方的合作正式画上句号。韩国Costory公司转头就把中国区总代交给了“多美国际”。按照常理,杭州伸美彼时该体面退场,或者经营自己的其他生意,但事情却远没有这么简单。

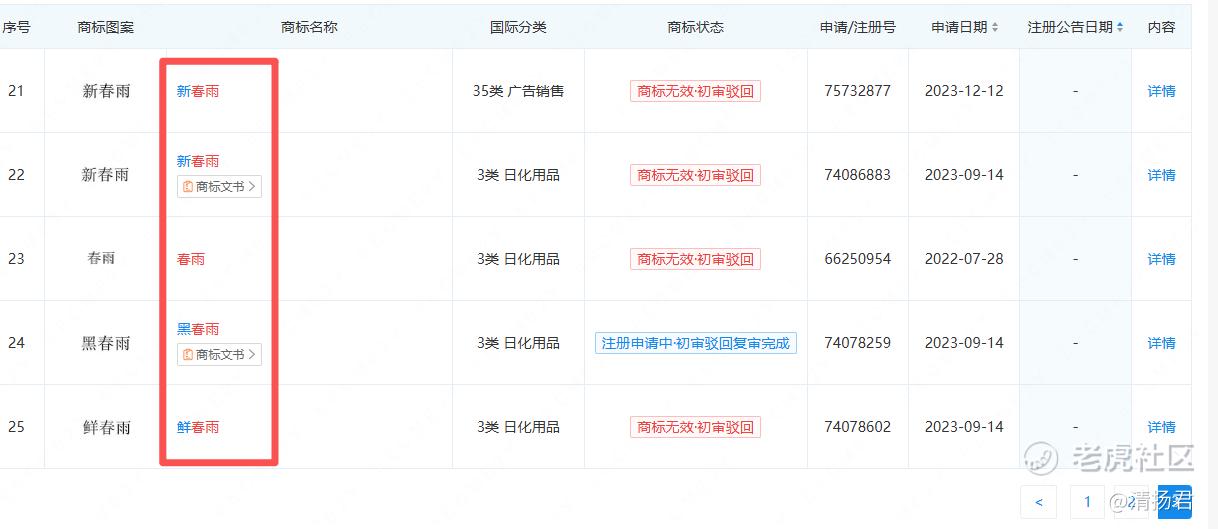
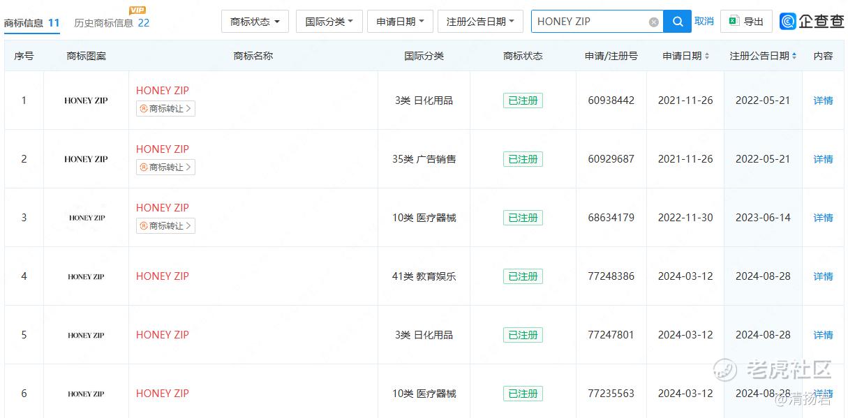
早在2022年5月,杭州伸美就开始注册HONEY ZIP 相关的多个类别商标,包括但不限于第3类日化用品、第35类广告销售等10多个商标。

不仅如此,清扬君舆情分析中心查询发现,杭州伸美先后申请春雨、黑春雨、新春雨等共计25个相关商标,而且几乎都是3类日化用品、第35类广告销售的商标。

百度百科资料则显示,HONEY ZIP(中文名:黄春雨)是中国的一家蜂蜜护肤品牌,始创于2013年,秉持“自然安心”理念,专研“黄金蜜”配方开发面膜产品。品牌初期填补国内蜂蜜面膜市场空白,2013年引进第一代蜂蜜面膜,2014至2022年完成6代产品升级。2023年细分产品功效定位推出HONEY ZIP黄春雨系列。2024年先后入驻泊伊美汇和屈臣氏,线下销量表现突出,同年520活动单次销售额突破115万元。

黄春雨这名字及包装,透着一股“熟悉的味儿”。品牌定位主打“自然”“温和”,除了名字,几乎和韩国春雨如出一辙;首推产品,直接叫“黄春雨蜂蜜保湿面膜”,从名字到包装,和韩国春雨的产品线神似。

这简直是超级版“学习借鉴”,如同当初王老吉和加多宝的红罐包装一样。

网红蛋蛋的“韩国专场”遭质疑

如果只是产品像,或许还只是商业伦理问题。但要命的,是后面的营销。

2025年3月30日晚,快手顶流主播“蛋蛋”的直播间,打出了“韩国专场”的旗号。气氛火热,口号响亮,号称要“带家人买空韩国”。辛巴当时也在直播间,还声称“因为会选品,因为有溢价能力,因为便宜,在外面花178元,便宜的容易买到假货。辛巴都是官企,没有假货。”而就在这场“韩国专场”里,HONEY ZIP的面膜被摆上了货架。

直播间里,粉丝们冲着“韩国春雨”的名头,掏钱支持。这场直播单场卖掉2万多单,销售额破200万。可很快,知名打假人“蛙哥”就站出来捅破了窗户纸:经过向京东春雨自营店核实、比对英文商标、追溯品牌历史,确认蛋蛋卖的根本不是韩国春雨,而是杭州伸美旗下的HONEY ZIP!

“在中国的土地上仿冒外国品牌,并且有意误导消费者,是一种丢了国人脸面的玩法!”蛙哥的话,说得挺重。

不过“蛋蛋”这种直播行为,名义上和HONEY ZIP无关,除非相关资料由杭州伸美直接提供。但如果甩锅给辛巴和蛋蛋也不全对,人家说了都是和官企合作的。于是有网友质疑称,一边急着和韩国品牌切割,自立门户;一边又在最需要流量的直播间,紧紧抱着“韩国春雨”的大腿不放,甚至不惜虚假宣传。这吃相,难怪原配要怒而挥起法律大棒。

不过话说回来,做品牌本就不易。杭州伸美最初若因为在中国市场顺利销售韩国春雨而注册相关商标,或许确实只是出于防御性布局的考虑——毕竟当时谁也没料到“春雨”日后会爆火,更想不到双方最终会分道扬镳。只是世事难料,随着利益格局的变化,原本的防御之举,竟逐渐演变成了独立运作“黄春雨”的念头。

据媒体报道,HONEY ZIP“黄春雨”由“韩国春雨原团队”的成员运营。在HONEY ZIP创始人陈宇昌看来,这将为“黄春雨”的快速打造爆款提供渠道与资源基础。

当然,这对于韩国春雨来讲是不可以接受的。如果在合作期间,或许并不关注,亦或睁只眼闭只眼。但现在韩国春雨让超级网红代言,而且销量急剧下滑,如若再坐视不管,韩国春雨在中国市场或将丧失主动权。

因此,对于韩国春雨来讲,你自立门户可以,但不能踩着我上位,更不能滥用我辛苦经营多年的品牌资产来误导我的消费者。商标侵权、不正当竞争,这两项指控要是坐实,杭州伸美面临的恐怕不只是赔钱那么简单。

有意思的是后续。被狠狠打假、陷入争议的HONEY ZIP,市场表现急转直下。不过现在某些平台的商家在销售该产品时仍在大肆宣传“春雨”面膜,而且销量500万+的都有。这不由让人质疑杭州伸美的管理能力和营销策略。

曾两次被罚

行政处罚决定书《杭税一稽罚﹝2025﹞209号》显示,2025年11月,杭州伸美因逃避缴纳税款的违法行为,被杭州市税务局罚款约8.9万元。

行政处罚决定书《杭钱塘市监处罚﹝2023﹞216号》显示,2023年6月,杭州伸美在拼多多网店因宣传“达肤妍”产品时谎称拥有“50项专利研发”(实际仅39项),并在抖音直播中虚假宣称“春雨蜂蜜面膜含蜂王浆”(实际不含该成分),构成发布虚假广告行为。被杭州市钱塘区市场监督管理局罚款4000元。

企查查数据显示,杭州伸美先后投资了希恩希欧(上海)品牌管理有限公司、杭州伸美文化传媒有限公司、杭州涵蜜集品牌管理有限公司、深圳伸美品牌管理有限公司、金华伸海供应链管理有限公司、杭州有一说一网络科技有限公司、杭州派丝网络科技有限公司、杭州瑷家国际贸易有限公司等14家存续的全资子公司,并持有杭州光合绽放品牌管理有限公司和杭州睿园企业管理有限公司各65%的股权、广州星派传媒有限公司40%的股权,事实上已经形成了庞大的“伸美系”,在行业内具有一定的影响力。

清扬锐评:

回过头看,杭州伸美不是没有自己的牌。它旗下自主品牌“达肤妍”的B5面膜曾卖得风生水起,证明它有很好的销售渠道和品牌运营能力。但或许是对“韩国春雨”带来的路径依赖太深,或许是急于在失去代理权后快速变现,它选择了最激进也最危险的一条路——复制影子,并试图用混淆视听的方式,完成“偷梁换柱”(不管杭州伸美是否承认,但在消费者来看结果却是如此)。

然而,消费者和市场,远比想象中的要聪明。靠信息差和话术误导能割一波韭菜,但品牌真正的生命力,来自于独一无二的产品力和诚信经营的口碑。当“韩国专场”卖假韩国货的荒唐戏码被拆穿,失去的不仅是那单场200多万的销售额,更是难以挽回的信任。

这场官司,无论结果如何,都已成行业的一面镜子。它照出了代理生意终结后,品牌方与代运营商之间可能爆发的激烈冲突;更照出了在流量为王的直播时代,一些玩家为了快速变现,如何游走在虚假宣传与侵权边缘的冒险游戏。

只是,游戏总有结束的时候。当初分手的时候,杭州伸美完全可以把相关“春雨”商标通过谈判的方式,一起交给韩国春雨方。不知道杭州伸美现在会不会后悔,当初如果好好谋划“HONEY ZIP”,凭借彼时的团队和资源,走自己的品牌之路,完全有可能打造一个真正属于自己,且具有较强影响力的“知名护肤品牌”。

图源:企查查、拼多多、百度

免责声明:上述内容仅代表发帖人个人观点,不构成本平台的任何投资建议。

精彩评论

我们需要你的真知灼见来填补这片空白
发表看法