被骂惨和围剿,王小川还能实现上市梦吗?

一点财经
01-24

“跟大家重新建立连接,之前被骂惨了。”

最近,王小川又密集跟媒体见面,这样解释重新回归公众的原因。

去年4月,这位前搜狗输入法创始人、现在的百川智能创始人,经历了一场“至暗时刻”:业务线收缩、团队目标摇摆、高管陆续离职......质疑声潮水般涌来。后来,他公开反思错误,承认战线拉得过长,以后将重点押注医疗AI。

此后,这位曾喊出“理想上比Open AI慢一步,落地上快三步”的明星CEO,一度消失在公众面前。

如今9个月过去,王小川又频繁出现并且密集发声。账上约30亿现金,聚焦医疗AI赛道,2027年启动上市——这是王小川现在反复强调的三件事。

医疗AI的热度最近确实在上升:OpenAI、Claude、蚂蚁阿福都有新动作。但对于王小川来说,巨头入局往往意味着竞争加剧,而非机会增多。不过,选择这条赛道本身已是一种勇气——医疗AI门槛高、周期长、监管严,敢于All in的创业者并不多。

只是,当智谱、MiniMax等同属“AI六小龙”的玩家已经登陆资本市场,百川的路径还不太明朗。

还有一年时间,它真的能成功上市吗?

收缩战线和格局变天

王小川喜欢用“回归初心”来解释百川的转型,但事实可能更残酷。

看看时间线就明白了。2023年百川成立时,王小川画了一张大饼:底层模型要对标OpenAI,C端做中国的ChatGPT,B端要横扫金融、教育、法律,医疗领域还要造出“AI医生”。

一年后,这幅画面就彻底变了。

深层的业务调整发生在2024年下半年。百川的To B团队被裁撤,金融业务组解散。说好的现金奶牛,转眼成了需要砍掉的负担。

更直接的压力来自竞争对手。2025年初DeepSeek的爆火,让百川停止预训练新的超大规模通用大模型。一些潜在客户直接转向DeepSeek,已经准备合作的客户甚至直接“反悔”。高管的接连离职,更是折射出团队的不稳定状态。

王小川把这一切归结为“战线过长、过早商业化”。他在全员信中反思,这极大增加了组织的复杂度,要进行战略收缩,押注医疗AI。

然而,AI战场瞬息万变,一步错就会大变天。当百川收缩战线时,其他玩家正在加速前进:智谱AI和MiniMax已经上市、月之暗面又拿到新融资.......

医疗AI赛道正变得越来越拥挤。国际方面,OpenAI上线Health能力;国内方面,蚂蚁集团推出AI健康应用阿福,短期内月活用户突破3000万。

巨头入场往往意味着竞争加剧,他们有更丰富的生态资源、更雄厚的资金实力、更庞大的用户基础。百川作为创业公司,如何在这些巨头夹击中找到生存空间?

王小川对竞争对手的看法很直接,他说蚂蚁阿福广告太多,而且主要是给普通消费者用的,医生端的决策感受不强。

谈到国外的OpenEvidence,王小川觉得只是服务医生的工具。他说百川的产品不一样,能让患者听懂、能帮患者做决定、还能告诉患者该怎么做,是直接服务患者的。他认为,自家这样的产品定位在全球是独一无二的。

对那些一窝蜂做医疗模型的公司,王小川更不客气,直言现在市面上有500多个垂直医疗模型,但他们根本不懂什么叫模型。

王小川的确擅长技术,但百川自己真的能在医疗AI这个赛道,找到全部的未来吗?

医疗权力让渡:美好理念还是空中楼阁?

王小川最近抛出了个新概念,叫“权力让渡”。说白了,就是想让AI把医疗决策权从医生手里分一点给患者。

他认为医疗的核心问题是优质医生供给不够、医患权力不对等。这话没错,谁看病没遇到过三言两语就被打发走的经历?患者确实比较被动,医生说什么就是什么。

王小川的想法是,让AI当翻译官,帮患者理解病情、比较方案、参与决策。这种理念让人想起《超能陆战队》中的“大白”——一个温暖、贴心的家庭医疗机器人,但现实中要打造这样的AI,远不止技术那么简单。

第一,患者是否真的愿意并能够承接这份“权力”?

医疗决策不是买菜。买贵了买错了,顶多亏点钱。医疗决策错了,可能直接影响病情甚至生命。让一个没学过医的普通人,去决定用A方案还是B方案,这责任他恐怕不敢担,也担不起。

王小川举了个例子,说医生可能给出保守和激进两种方案。AI可以帮患者分析利弊。听起来挺好,但问题在于,医疗决策中有大量灰色地带。连专家都会吵起来的病例,AI能否帮普通人做出更好选择是个大问题。

第二,医生是否会心甘情愿地“让渡”权力?

王小川反复强调,这不是动医生的蛋糕。但是,中国的医疗体系里,医生不仅仅是技术提供者,还是风险过滤器、资源分配者。突然插进来一个AI,说要帮患者做决定,势必会打破现有的体系格局。

现在用AI的多数是年轻医生,拿它当工具用。真正的话事人,那些主任、专家,他们对AI的态度可没那么热情。现在说要“权力让渡”,可能很多医生不会同意。

一个有三十多年丰富经验的医生告诉我,他并不相信AI,更相信自己的知识和经验。另一个刚进入医院的年轻医生则表示,自己刚开始会用AI查病情,但有时会给出错误答案,所以现在自己还是偏向查阅权威资料。

在技术层面,百川的医疗大模型Baichuan-M3在评测中的确表现不错,幻觉率降到3.5%。但这也意味着每100次问诊,可能有3到4次给出错误建议。

在别的领域,3.5%的错误率也许能接受。但在医疗领域,一次错误就可能酿成大祸。

王小川与张文宏的隔空对话,更能反映医疗AI落地的现实困境。

张文宏担心年轻医生过度依赖AI,王小川回应:“医生的成长不能以当下患者作为成本。”但是,如果AI真的深度介入医疗决策,医生该怎么培养?现在的医学教育体系要不要推倒重来?这些都是问题。

在回应张文宏“拒绝把AI引入医院病历系统”的言论时,王小川还表示:“他有他的道理,只是说屁股会决定脑袋的位置。”

最实在的问题还是钱。

王小川表示,百川将在今年上半年发布两款To C的新产品,重点服务于患者的辅助决策。上线初期免费开放,之后探索付费模式。

但是,医疗行业的付费逻辑没那么简单。中国老百姓为医疗服务付费的习惯还没完全养成,为AI医疗建议付费更是新鲜事。这块市场有多大?能撑起一家公司的估值吗?

目前中国医疗AI赚钱主要靠两条路:要么医院采购,要么医保支付。百川选了一条最难的路——直接向患者收费,但直接向患者收费的产品没几个活得好。健康管理、在线问诊这些轻量服务还行,真要涉及严肃医疗决策,患者愿意掏多少钱?

王小川还盯上了院外市场,说未来增量在院外不在院内。

院外健康咨询市场确实大,但从商业角度看,头疼脑热上网查查,这种服务的商业化空间并不大。真正值钱的都在院内。大病手术、重症治疗、慢性病管理,这些才是医疗行业赚钱的地方。但这些场景,AI能进去吗?患者敢完全依靠AI做决定吗?

王小川的“权力让渡”听起来很美好,但医疗体系是个复杂的利益网络,牵一发而动全身。AI想在这里面分一杯羹,光有技术不够,光有理念也不够。它需要面对医生的疑虑、患者的恐惧、监管的审慎、商业的残酷。

当然了,世界也需要王小川这样的理想主义者。如果真的能够解决这些难题,那么将创造出巨大的社会红利。

上市之路:时间窗口与竞争现实

百川的目标是在2027年启动上市。时间看似还有两年多,但资本市场的耐心是有限的,留给医疗AI的窗口期不会一直敞开。

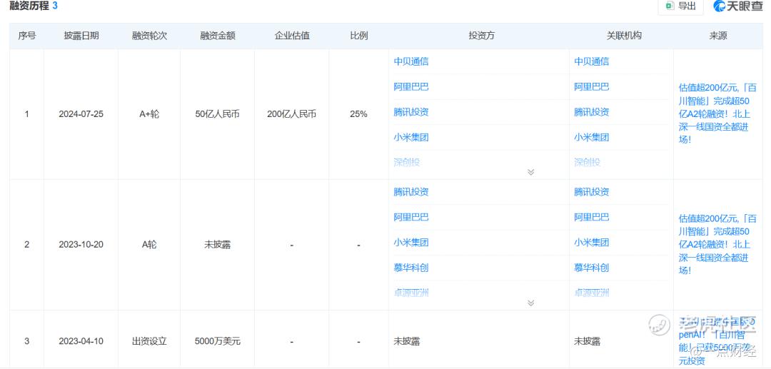
根据天眼查的信息,百川上一轮融资停在2024年7月,拿了50亿,估值200亿。之后就没再有公开的融资消息。

△来源:天眼查

现在的环境和前两年不一样了,钱不好拿了。投资人更谨慎,都要看实际的东西:用户有多少、收入从哪来、增长稳不稳定。通用模型公司尚且被追问盈利,医疗AI周期更长、门槛更高、支付环节更复杂,投资人的等待自然会更慎重。

王小川常提账上那30亿现金,这是百川的底气。但医疗AI确实是个高投入的领域,每一分钱都得算着花。

光是医疗数据的合规处理,就是一大块固定支出。清洗、标注、脱敏,每一步都得花钱,还得紧跟越来越严的隐私法规。这还不包括临床试验——做医疗AI不能只靠论文和实验室数据,得进医院、跑流程、跟踪病例,这些都需要真金白银的投入。

用户获取也不轻松。做面向消费者的医疗产品,不打广告很难触达用户,但营销投入一上去,成本压力就来了。医疗产品建立信任比普通产品慢,用户尝试门槛高,转化起来自然更费劲。

这么看,30亿要支撑到2027年,每一步都得走得扎实。

王小川的策略是走差异化,聚焦“严肃医疗”,但做起来并不容易。

严肃医疗场景价值高,门槛也高。想进去,需要行业里的积累和信任,这不是技术参数好就能解决的。百川和北京儿童医院、肿瘤医院这些机构合作,方向是对的,但合作能带来多少收入验证、产品能否真的跑通,还需要时间。

出海是另一条路。王小川说“不能出海的医疗公司不是好公司”,决心有,难度也不小。各个国家的医疗体系差别很大,监管要求各不相同,从FDA到CE认证,每一关都要时间和资源。

2027年不远,时间其实挺紧。百川得在这期间完成产品验证、用户积累、收入提升和合规建设,每一项都是硬任务。另外,到了2027年,资本市场对医疗AI还有多少热情,现在谁也说不好。

这条路注定不容易,但方向如果能走通,机会还是有的。

王小川最近在采访中分享了一个细节:“生命比天气预报还复杂,凭什么背后有规律?所以我花时间去研究,总想找到背后的数学模型。”

这种对底层规律的执着,是技术人的浪漫,也是创业者的挑战。医疗体系的复杂性,可能远超天气预报和基因组学。它不仅涉及技术问题,更涉及人性、制度、文化等多重因素。

百川的未来,不仅取决于王小川的技术洞察,更取决于他对商业现实的理解和把握。2027年启动上市是一个目标,但能否实现还要看接下来每一步走得是否扎实。

在AI医疗这条漫长而艰难的路上,理想主义是必要的灯塔,但只有同时握紧技术、商业与现实的舵,才有可能穿越风浪。

免责声明:上述内容仅代表发帖人个人观点,不构成本平台的任何投资建议。

精彩评论

我们需要你的真知灼见来填补这片空白
发表看法