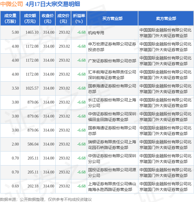
证券之星消息,4月17日中微公司发生大宗交易,交易数据如下:

近三个月该股共发生21笔大宗交易,合计成交1.93万手,折价成交21笔。该股近期无解禁股上市。
截至2026年4月17日收盘,中微公司(688012)报收于314.0元,下跌1.41%,换手率2.21%,成交量13.86万手,成交额43.51亿元。
该股近半年内有股东持股变动,合计净减持1838.23万股,股东增减持明细如下表:

该股最近90天内共有20家机构给出评级,买入评级16家,增持评级4家;过去90天内机构目标均价为345.99。
以上内容为证券之星据公开信息整理,由AI算法生成(网信算备310104345710301240019号),不构成投资建议。
相关 ETF



精彩评论