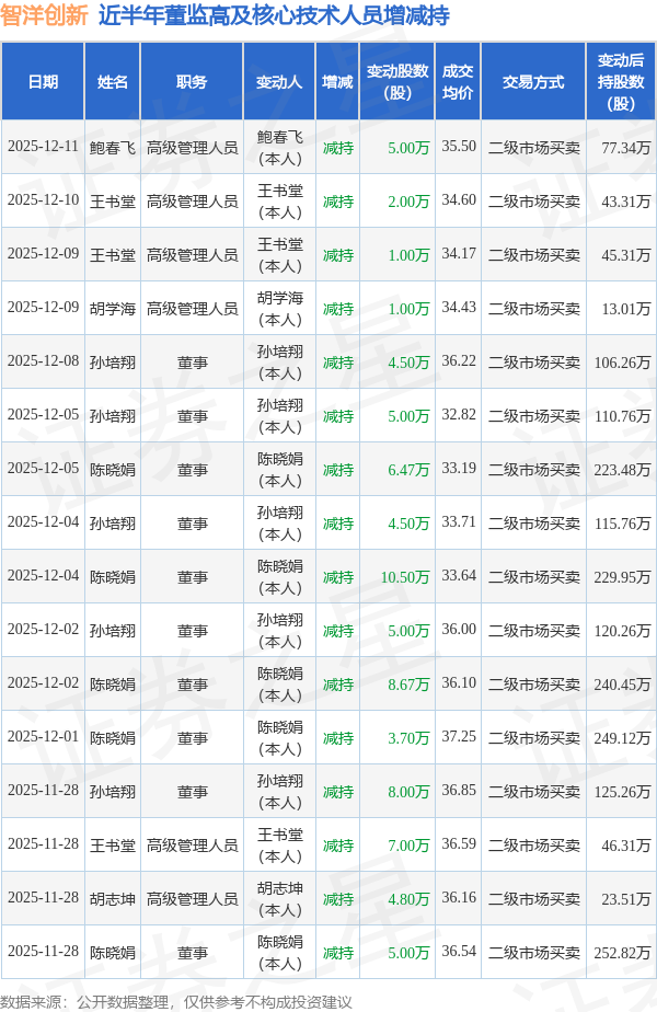
证券之星消息,根据12月12日市场公开信息、上市公司公告及交易所披露数据整理,智洋创新(688191)最新董监高及相关人员股份变动情况:2025年12月9日至2025年12月11日公司高级管理人员鲍春飞、高级管理人员王书堂、高级管理人员胡学海共减持公司股份9.0万股,占公司总股本为0.0388%。变动期间公司股价上涨5.91%,12月11日当日收盘报35.32元。
智洋创新近半年内的董监高及核心技术人员增减持详情如下:

智洋创新的高管列表及最新持股情况如下:

融资融券数据显示该股近5日融资净流出1633.9万,融资余额减少;融券净流入0.0,融券余额增加。
该股最近90天内共有3家机构给出评级,买入评级3家;过去90天内机构目标均价为55.54。
以上内容为证券之星据公开信息整理,由AI算法生成(网信算备310104345710301240019号),不构成投资建议。
精彩评论